Microsoft is jumping on the foldables bandwagon, but not in the most obvious way: the company has patented a foldable mouse.
Microsoft’s patent was first filed in March and published last week.
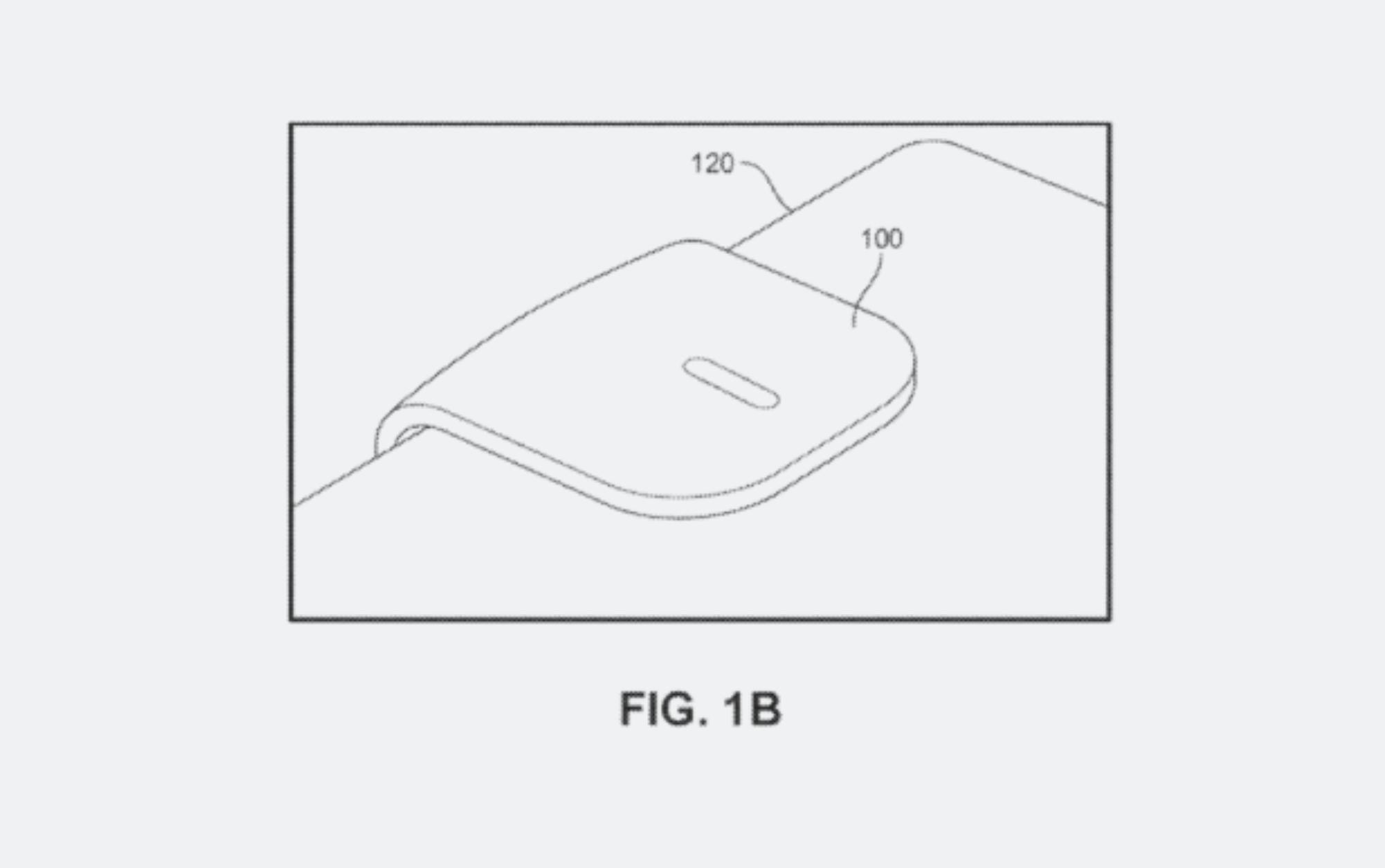
Here’s how Microsoft describes the foldable mouse.
“A foldable computer mouse is provided that includes a deformable body configurable to be formed into a first expanded configuration usable for receiving inputs for controlling a computing device and a second folded configuration in which a first portion of the deformable body is folded over a second portion of the deformable body.”

The mouse will also feature a motion tracker, “configured to wirelessly communicate tactile input and motion tracking data to the computing device.”
The mouse is intended for portable use; as the patent explains, most mice are “too bulky or inconvenient to carry around with a portable computing device” and those intended for travel, “lack an ergonomic design and may be uncomfortable to use.”











